Amazon si dal patentovat využívání bílého pozadí
- Včera v noci jsem asi 15 minut procházel internet. Jen abych se ujistil, že zpráva, kterou jsem si přečetl na jednom portálu o focení, je pravdivá. Informace se shodovaly na všech webech, které jsem otevřel. Nakonec jsem to našel i na blogu Gizmodo. Společnost Amazon získala patent na focení s bílým pozadím.
- Včera v noci jsem asi 15 minut procházel internet. Jen abych se ujistil, že zpráva, kterou jsem si přečetl na jednom portálu o focení, je pravdivá. Informace se shodovaly na všech webech, které jsem otevřel. Nakonec jsem to našel i na blogu Gizmodo. Společnost Amazon získala patent na focení s bílým pozadím.
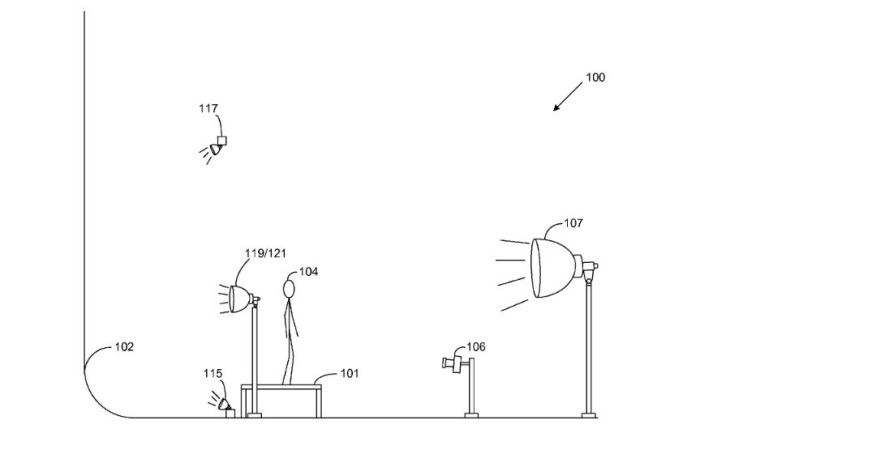
Americký patentový úřad (US Patent and Trademark Office) má za sebou již údajně kontroverzních rozhodnutí v oblasti udělování patentů. Nyní přišlo pravděpodobně další. V polovině března tohoto roku udělil společnosti Amazon patent na „vynález“, který využívají všichni fotografové po celém světě. Oficiální název patentu číslo US 8,676,045 BI je „Uspořádání studia (Studio Arrangement)“, přičemž za vynálezců jsou označeni čtyři lidé – Jeremy David Sawatzky, Christina Porter, Jeff Strauss a Gill Blank – a nabyvatelem práv není nikdo jiný než Amazon Technologies.
V patentovém dokumentu se přesně rozebírá rozestavení světel a objektů v prostoru fotografického studia. Dokonce je zmíněn i fokus a ISO pro nastavení na fotoaparátu. Přiložené jsou samozřejmě podrobné nákresy, kde, co av jaké vzdálenosti má být umístěny. Aby bylo vše jasné, Amazon sepsal i postup, jako předmět přesně vyfotit – aktivovat zadní zdroj světla, aktivovat přední zdroj světla, umístit objekt a zachytit ho na přístroj.
Na webu určeném otázkám ohledně patentů již o tomto rozhodnutí padla pochybnost, neboť teoreticky předmět patentu „musí být nový, neobvyklý a jiný než to, co zde bylo dosud.“ Vzhledem k tomu, že není fotografa, který by bílé pozadí nevyužíval již nějaký ten čas, těžko tvrdit, že jde o novou myšlenku.
Co z toho vyplývá ?
Buď jde stále o vtip nebo nedorozumění, a pokud ano, snad se to brzy dozvíme. Vzhledem ale k tomu, že oficiální dokument je k dispozici i na stránce patentového úřadu (zde), tuto možnost bych vyloučil.
Pravděpodobnější je jiné vysvětlení . Amazon je společnost, kterou v oblasti prodeje produktů dnes, ani v blízké budoucnosti , nikdo nepředčí , a právě Amazon využívá bílé pozadí při focení produktů. Cílem takového patentu tedy pravděpodobně není nahánění jiných fotografů , kteří by používali bílé pozadí. Koneckonců, jak by to vypadalo? Chodili by pracovníci Amazonu do jednotlivých studií a kontrolovali by nastavení a vzdálenosti? Asi ne.
Spíše může jít o snahu krýt se přesně před stejným krokem, jen z jiné strany . Co kdyby si nějaký fotograf ( nebo kdokoli ) řekl, že si dá patentovat používání bílého pozadí v určitých rozměrech, a pak zažaluje Amazon za porušení patentových práv? Otevřenou otázkou však zůstává, zda by dotyčný člověk i patent získal, jelikož není obrovskou korporací s několika právními experty na oblast duševního vlastnictví.
Počkejme si tedy na vyjádření Amazonu , který k tomu , věřme , zaujme stanovisko .
Zdroj : gizmodo.com , diyphotography.net , picphotos.net
Čítaj viac z kategórie: Lifehacking

